关闭
关注微信公众号
下载APP
我要爆料
首页顶部广告

延期,补偿!张学友演唱会和高考“撞期”遭投诉,最新通告

2025-05-28 09:46  来源: 橙柿互动·都市快报

5月27日晚上,“张学友60+巡回演唱会东莞站”主办方发出延期通告称,在艺人团队的支持和配合下,原定于2025年6月6日至8日举办的演唱会,延期至8月29日至31日举办。演唱会延期票务通告和补偿通告已同步发布。

主办方对演唱会的延期举办向广大歌迷表示歉意,也对社会各界的理解与配合表示感谢。主办方表示,将尽最大努力解决观众的合理诉求,已购票观众可选择保留门票观看延期演唱会,无需任何操作,系统将自动变更为新场次;选择退票的观众,可通过原购票平台申请全额退款;因演出延期产生的酒店退订手续费和机票、火车票退票手续费相关损失,也将给予相应的补偿。

微信图片_20250528094447.jpg

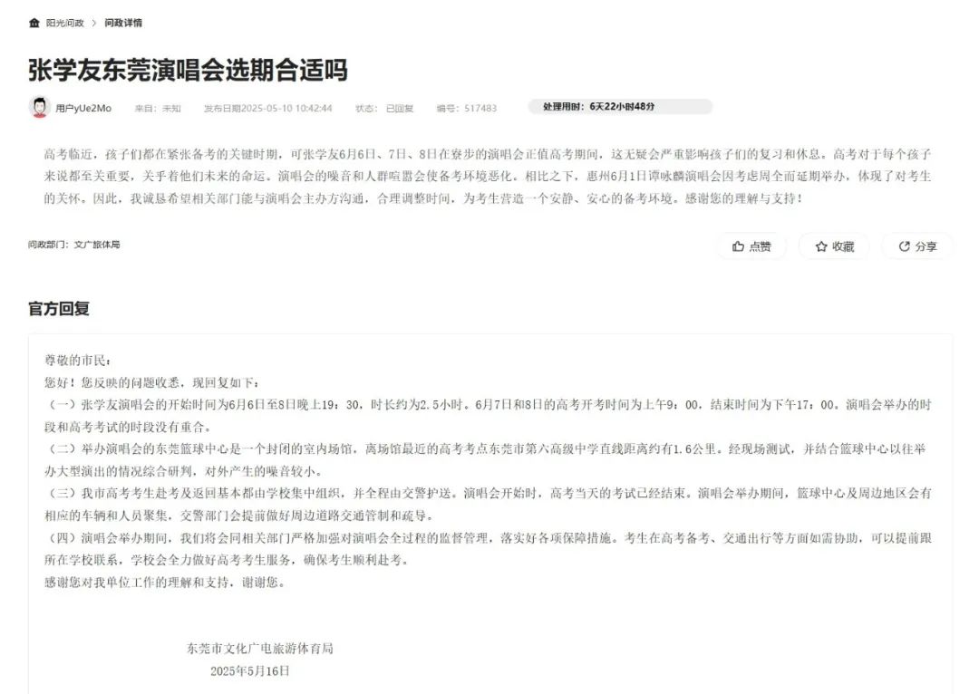
早前报道,6月6日至6月8日,张学友将在广东东莞银行篮球中心连开三场演唱会。因演唱会有两天时间与2025年高考时间“重合”,附近有一考点,因此遭到一些市民的投诉。5月22日,东莞市多部门进行了回应。

在东莞市有关部门主办的“阳光热线问政平台”,有十多名网友发帖,希望张学友的演唱会能够改期。

有网友称,演唱会场馆和高考考点东莞市第六高级中学,只相距约2公里。即使部门做好了万全的措施和预案,作为考生家长,仍有诸多顾虑。

640 (3).png

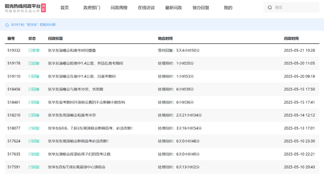
早前报道,6月6日至6月8日,张学友将在广东东莞银行篮球中心连开三场演唱会。因演唱会有两天时间与2025年高考时间“重合”,附近有一考点,因此遭到一些市民的投诉。5月22日,东莞市多部门进行了回应。

在东莞市有关部门主办的“阳光热线问政平台”,有十多名网友发帖,希望张学友的演唱会能够改期。

有网友称,演唱会场馆和高考考点东莞市第六高级中学,只相距约2公里。即使部门做好了万全的措施和预案,作为考生家长,仍有诸多顾虑。

640 (1).jpg

早前报道,6月6日至6月8日,张学友将在广东东莞银行篮球中心连开三场演唱会。因演唱会有两天时间与2025年高考时间“重合”,附近有一考点,因此遭到一些市民的投诉。5月22日,东莞市多部门进行了回应。

在东莞市有关部门主办的“阳光热线问政平台”,有十多名网友发帖,希望张学友的演唱会能够改期。

有网友称,演唱会场馆和高考考点东莞市第六高级中学,只相距约2公里。即使部门做好了万全的措施和预案,作为考生家长,仍有诸多顾虑。